ZELOS 90 VRS

SCHIENENFÜHRUNG

Bei dieser Ausführung werden die Lamellen wechselseitig geführt. Dies erfolgt mittels ultraschallverschweißten Kunststoffbolzen.
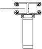
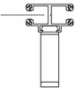
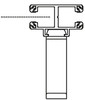
Es können alle KOSMOS Führungsschienensysteme verwendet werden, sowohl sichtbare Schienen als auch Unterputzsysteme. Schienenführungen eignen sich hervorragend für normale Belastungen. Bei besonders hohen Anforderungen an die Windstabilität besteht auch die Möglichkeit von Seitenaufzug oder Windfestausführung.
SEILFÜHRUNG
Seilführungen kommen speziell zur Anwendung, wenn eine sehr transparente Optik gefordert ist, wie z.B. Glasfassaden oder Nurglasecken. Die Führung erfolgt über ein kunststoffummanteltes Niroseil mit 2,5mm Durchmesser.
Zu beachten ist die reduzierte Windstabilität gegenüber schienengeführten Systemen.
SEITENAUFZUG - TYPE SA
Technik mit Innovation! Die bewährten Möglichkeiten und Vorteile der ZELOS und SIA-Verbundraffstoren sind durch ein einzigartiges System zum Heben und Senken der Lamellen erweitert. Dazu wird das Kunststofflochband in die seitlichen Führungsschienen geschützt integriert. Durch die enorme Zugfestigkeit von ca. 1500Nm entspricht die ZELOS- und SIA-Seitenaufzugausführung auch dann den Anforderungen, wenn herkömmliche Konstruktionen längst versagen.
Windkanalprüfungen bestätigen diesem System bestmögliche Stabilität. Jede einzelne Lamelle wird beidseitig mit Bolzen in den Lamellen geführt. Der in der Lamelle eingewalzte Keder sorgt für Geräuschdämmung. Die Auswahl aus den Lamellenformen ZELOS 90, ZELOS 73 und SIA 90 bietet auch bei diesem System einen großen Freiraum zur Gestaltung
- Auflaufschutz
- Erhöhte Windstabilität
- Langlebigkeit
- Kunststofflochband mit hoher Zugfestigkeit
- Optionales Tageslichttransportssystem
- Reduzierter Schräglauf Verbesserte Abdunkelung – keine Stanzungen im Lamellenbereich und somit keine Lichtpunkte
WINDFESTAUSFÜHRUNG - TYPE WF
Bei dieser speziellen Konstruktion werden die Lamellen,- zusätzlich zu den verstärkten Führungsschienen und Haltern (System 40 und MKL-Halter) seitlich noch mit kunststoffummantelten Niro-Seilen im Lamellenbereich geführt (bei breiteren Anlagen auch zusätzliche Mittelseile). Die mit zusätzlichen Stahleinlagen versehende Endschiene wird durch eine erhöhte Anzahl von Bändern gehoben und gesenkt. Die Motorstärke ist den Behang abgestimmt!
| VERBUNDAUSFÜHRUNG | SEITENAUFZUG | COMPACT | WINDFEST | |
|---|---|---|---|---|
| Form/Type | ZELOS-90 | ZELOS-73 | SIA-90 | ZELOS-90 SA | ZELOS-73 SA | SIA-90 SA | COMPACT ZELOS-90 | COMPACT ZELOS-73 | COMPACT SIA-90 | ZELOS-90 WF | ZELOS-73 WF | SIA-90 WF |
| Lamellenführung | Schiene oder Seil | SA-Schiene | Schiene | Schiene+Seil |
| Mittelseilabspannung | Optional | Optional | Optional | Optional |
| Geräuschdämmlippe | JA | JA | JA | JA |
| Antrieb | Kurbel, Motor, Funk, Solar | Motor, Funk, Solar | Motor, Funk, Solar | Motor, Funk |
| Arbeitsstellung | Optional | Optional | Optional | Optional |
| Tageslichttransportsystem TLT | Optional | Optional | Optional | Optional |
| Aufzugsband | Textil (Trevira) | Lochband (Dymetrol) | Textil (Trevira) | Textil (Trevira) |
| Windstabilität* | Bis 90km/h | Bis 90km/h | Bis 90km/h | Bis 90km/h |
| Auffahrschutz | NEIN | JA | NEIN | NEIN |
| Lamellen | wechselseitig | beidseitig | wechselseitig | wechselseitig |
| Minimale Breite (BK) | 510mm | 530mm | 540mm | 700mm |
| Maximale Breite (BK) | 4500mm | 2800mm | 4000mm | 3000mm |
| Maximale Höhe | 4000mm | 3100mm | 4000mm | 3600mm |
| Max. Fläche | 12m² | 9m² | 12m² | 9m² |
*Windstabilitäten abhängig von Breiten der Anlagen, Einbausituation u.v.m. Bitte beachten sie die Planungsunterlagen.
Standardfarben











Tageslichttransport - TLT
Aus störender, greller Strahlung wird durch die stufenlos regulierbaren Lamellen angenehmes, diffuses Licht, dass durch Reflexion nach oben besonders weit ins Rauminnere geleitet wird. Option: Arbeitsstellung, verhindert die Dunkelphasen beim Absenken der Storen.
90° geöffnete Lamellen
Optimale Raumausleuchtung durch natürliches Licht im Innenraum.
45° geöffnete Lamellen
Die ideale Lamellenstellung bei tiefem Sonnenstand, ausreichende Belichtung der Räume mit Tageslicht.
Geschlossene Lamellenstellung
Keine Einblicke von außen möglich. Zusätzliche Wärmedämmung.
TLT - Tageslicht-Transport

Der Lamellenbehang wird durch eine spezielle Technik in zwei Zonen geteilt. Im oberen Teil werden die Lamellen waagrecht bis leicht geneigt positioniert, im unteren Teil nahezu geschlossen. So ergibt sich eine blendfreie Zone im Arbeitsbereich.
Durch die geöffnete Lamellenstellung oben wird das natürliche Licht über die Raumdecke nach innen gelenkt. Die optimalen Belichtungsverhältnisse sind somit speziell bei hellen Lamellen geschaffen. Auf Wunsch kann der gesamte Lamellenbehang geschlossen werden.
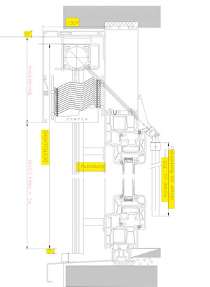
Pakethöhen


Blendenhöhen / Sturzhöhen
| HL=Höhe Lichte in mm | 440 - 1200 | 1201 - 1400 | 1401 - 1600 | 1601 - 1800 | 1801 - 2000 | 2001 - 2200 | 2201 - 2400 | 2401 - 2600 | 2601 - 2800 | 2801 - 3000 |
|---|---|---|---|---|---|---|---|---|---|---|
| ZELOS 90 / SIA 90 | 210 | 225 | 235 | 245 | 260 | 275 | 290 | 305 | 315 | 325 |
| ZELOS 73 | 230 | 240 | 250 | 275 | 290 | 300 | 315 | 325 | 350 | 370 |
Führungsschienensysteme
























